642
THE POPULAR SCIENCE MONTHLY.
sent to the eye more light, but it will appear paler; the color-element will begin to be pushed into the background. Conversely, if we now should subject our mixture of white and colored light to analysis by a second spectroscope, we should infallibly detect the presence of the white as well as of the colored light; or, if no white light were present, that would also be equally apparent.

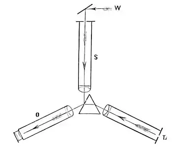
Fig. 1.—O the observing-telescope; S the scale-telescope; L the source of light which furnishes the spectrum; W the white light which is projected on the spectrum.
Taking all this into consideration, it is evident that when a particular color is presented to us we can affirm that it is perfectly pure, viz., entirely free from white light; or that it contains mingled with it a larger or smaller proportion of this foreign element. This furnishes us with our first clew toward a classification of colors: our pure standard colors are to be those found in the spectrum; the colored light coming from the surfaces of natural objects, or from painted surfaces, we must compare with the tints of the spectrum. If this is done, in almost every case the presence of more or less white light will be detected; in the great majority of instances its preponderance over the colored light will be found quite marked. To illustrate by an example: If white paper be painted with vermilion, and compared with a solar spectrum, it will be found that it corresponds in general tone with a certain portion of the red space; but the two colors never match perfectly, that from the paper always appearing too pale. If, now, white light be added to the pure spectral tint, by reflecting a small amount of it into the observing-telescope, it will become possible to match the two colors, and, if we know what proportion of white light has been added, we can afterward say that the light reflected