< Page:Popular Science Monthly Volume 9.djvu

This page has been validated.
266
THE POPULAR SCIENCE MONTHLY.
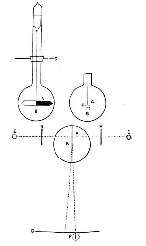
each side, the other end being left plain. I have two candles, E E, each twelve inches off the pith-bar, one on each side of it. When I remove the screens, H H, the candle on one side will give the pith a

Fig. 6.
push in one direction, and the candle on the other side will give the pith a push in the opposite direction, and as they are the same distance off they will neutralize each other, and the spot of light will not move. I now take the two screens away: each candle is pushing the
This article is issued from Wikisource. The text is licensed under Creative Commons - Attribution - Sharealike. Additional terms may apply for the media files.