WIRELESS TELEGRAPHY.
61
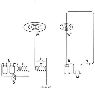
spond to each other if they are made sufficiently large, if they are properly placed, and if a powerful current is used to excite one coil. Thus, by simply varying the distance between the coils of wire we can send messages through the air between stations which are not connected with a wire. This method, however, does not constitute the system of wireless telegraphy of Marconi, which it is the object of this paper to describe. Marconi has succeeded in transmitting messages over forty miles between points not connected by wires, and he has accomplished this feat by merely slightly modifying the disposition of the coils, thus revealing a new possibility of the wondrous transformer. If the reader will compare the following diagram (Fig. 2) with the photograph (Fig. 1), he will see how simple the sending apparatus of Marconi is.
S is a gap between the ends of one coil, across which an electric spark is produced whenever the current from the batteries B flowing through the coil C is broken by an arrangement at D. This break produces an electrical pulsation in the coil C’, which travels up and down the wire W, which is elevated to a considerable height above the ground. This pulsation can not be seen by the eye. The wire does not move; it appears perfectly quiescent

Fig. 2.—Diagram of the arrangement of wires and batteries at the receiving station.
and dead, and seems only a wire and nothing more. At night, under favorable circumstances, one could see a luminosity on the wire, especially at the end, when messages are being transmitted, by a powerful battery B.
It is very easy to detect the electric lines which radiate from