46
OVERTHROW—PROJECTION.
Such conditions, and others similar, but tedious to detail, must be known to, and constantly looked out for, by the seismic observer in the field, or otherwise he will continually be liable to compare, as to effects, unlike and incomparable buildings or circumstances.
The coefficients of cohesion which apply to our equations of fracture will be given hereafter.
Returning now to Figs. 23 and 24. If the path of the wave be normal as before, but its velocity and amplitude greater than are sufficient only to cause fissures, then one or both end walls may be overthrown. If the direction of the transit be from to , the end wall will be prostrated outwards, or in the contrary sense. The end wall , propped, as before explained, by the side walls, may possibly be projected outwards and fall also; but in most instances there will be only fissures produced at its end, as in Figs. 21, 22.
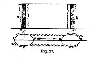
This may be made clearer by referring to Fig. 27. Let be the path of the wave, its direction of transit being

from towards , and the form of the wave vibration cut by a vertical plane, be at the end , and the same when it has progressed to that ; bearing in mind, however, that the amplitude of the wave, as it actually occurs in earthquake, is very great in proportion to its