VARIED CONDITIONS EXPLAINED.
379
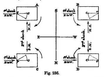
semiphase A, and second semiphase B, by the same double shock; secondly, the like by rotation, in the first semiphase (C), the first shock being as before, but the second, contrary in direction to that of the previous cases (A and B), and the like for the second semiphase (D), the two shocks being the same (C and D).

Applying this to the facts at the monument of St. Bruno. All the finials, &c., are twisted from left to right; we know that the main shock was from 15° W. of north to the south, it therefore follows, that the shock which first moved them, arrived in a path somewhere between that, and from east to west: by this they were tilted; by the immediately following shock, 15° W. of north to south they were twisted. Neither shock was sufficient, in velocity or range, completely to overthrow any of them, except those which were top-heavy, by having had balls at their summits, which have, except in one instance, been all dislodged.
A great many pyramids and finials on the top of the fountain in the entrance square B, Fig. 1, Diagram No. 240, and Photog. (Coll. Roy. Soc.), presented precisely similar phenomena, as did those on the parapet of the great façade Photog. (Coll. Roy. Soc.), and in divers other places.