60
PECULIARITY OF FISSURES.
already explained. And sometimes these are accompanied by a much smaller main fissure at , and either none corresponding in the end , or one at still smaller. In such a case if the abnormal angle be less than 10° it scarcely admits of decisive observation.
When the abnormal angle, however, is greater, as in Fig. 38, four main fissures are formed, which, except in the case where that angle is = 45°, are alternately wide and narrow. Let the direction of the wave transit be to , making an angle (in an horizontal plane) less with the wall than with the wall . Then at the end at which the wave first arrives, the fissure will be narrow, and will be wide, and at the opposite end, will be narrow and wide, and the sum of will be greater than that of , all being measured horizontally across the jaws of the fissures at the same level, suppose at the top of the walls.
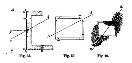
The cause of this is pretty obvious. Referring to Fig. 35, if the direction of the wave be to , the force of dislo-

cation of the end wall , and the side , acts in the direction , through the centre of gravity of the end wall, and oblique to its plane; it is therefore resolvable into two, one perpendicular to the plane of the wall, , the other