AMPEREMETER, or Ammeter, an instrument for the measurement of electric currents in terms of the unit called the ampere. (See Electrokinetics; Conduction, Electric; and Units, Physical.) Since electric currents may be either continuous, i.e. unidirectional, or alternating, and the latter of high or of low frequency, amperemeters may first be divided into those (1) for continuous or direct currents, (2) for low frequency alternating currents, and (3) for high frequency alternating currents. A continuous electric current of one ampere is defined to be one which deposits electrolytically 0·001118 of a gramme of silver per second from a neutral solution of silver nitrate.[1] An alternating current of one ampere is defined to be one which produces the same heat in a second in a wire as the unit continuous current defined as above to be one ampere. These definitions provide a basis on which the calibration of amperemeters can be conducted. Amperemeters may then be classified according to the physical principle on which they are constructed. An electric current in a conductor is recognized by its ability (a) to create heat in a wire through which it passes, (b) to produce a magnetic field round the conductor or wire. The heat makes itself evident by raising the temperature and therefore elongating the wire, whilst the magnetic field creates mechanical forces which act on pieces of iron or other conductors conveying electric currents when placed in proximity to the conductor in question. Hence we may classify ammeters into (1) Thermal; (2) Electromagnetic, and (3) Electrodynamic instruments.
1. Thermal Ammeters.—These instruments are also called hot-wire ammeters. In their simplest form they consist of a wire through which passes the current to be measured, some arrangement being provided for measuring the small expansion produced by the heat generated in the wire. This may consist simply in attaching 
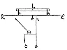
Fig. 1.—Diagram showing the arrange-
ments of Hartmann and Braun’s Hot-
wire Ammeter.one end of the wire to an index lever and the other to a fixed support, or the elongation of the wire may cause a rotation in a mirror from which a ray of light is reflected, and the movement of this ray over a scale will then provide the necessary means of indication. It is found most convenient to make use of the sag of the wire produced when it is stretched between two fixed points (K1K2, fig. 1) and then heated. To render the elongation evident, another wire is attached to its centre, S2, this last having a thread fixed to its middle of which the other end is twisted round the shaft of an index needle or in some way connected to it through a multiplying gear. The expansion of the working wire when it is heated will then increase or create a sag in it owing to its increase in length, and this is multiplied and rendered evident by the movement of the index needle. In order that this may take place, the heated wire must be flexible and must therefore be a single fine wire or a bundle of fine wires. In ammeters for small currents it is customary to pass the whole current through the heating wire. In instruments for larger currents the main current passes through a metallic strip acting as a bye-pass or shunt, and to the ends of this shunt are attached the ends of the working wire. A known fraction of the current is then indicated and measured. This shunt is generally a strip of platinoid or constantin, and the working wire itself is of the same metal. There is therefore a certain ratio in which any current passing through the ammeter is divided between the shunt and the working wire.
Thermal ammeters recommend themselves for the following reasons:—(1) the same instrument can be used for continuous currents and for alternating currents of low frequency; (2) there is no temperature correction; (3) if used with alternating currents no correction is necessary for frequency, unless that frequency is very high. It is, however, requisite to make provision for the effect of changes in atmospheric temperature. This is done by mounting the working wire on a metal plate made of the same metal as the working wire itself; thus if the working wire is of platinoid it must be mounted on a platinoid bar, the supports which carry the ends of the working wire being insulated from this bar by being bushed with ivory or porcelain. Then no changes of external temperature can affect the sag of the wire, and the only thing which can alter its length relatively to the supporting bar is the passage of a current through it. Hot-wire ammeters are, however, liable to a shift of zero, and means are always provided by some adjusting screw for slightly altering the sag of the wire and so adjusting the index needle to the zero of the scale. Hot-wire ammeters are open to the following objections:—The scale divisions for equal increments of current are not equal in length, being generally much closer together in the lower parts of the scale. The reason is that the heat produced in a given time in a wire is proportional to the square of the strength of the current passing through it, and hence the rate at which the heat is produced in the wire, and therefore its temperature, increases much faster than the current itself increases. From this it follows that hot-wire ammeters are generally not capable of giving visible indications below a certain minimum current for each instrument. The instrument therefore does not begin to read from zero current, but from some higher limit which, generally speaking, is about one-tenth of the maximum, so that an ammeter reading up to 10 amperes will not give much visible
indication below 1 ampere.

Fig. 2.–Hot-wire Ammeter.
On the other hand, hot-wire instruments are very “dead-beat,” that is to say, the needle does not move much for the small fluctuations in the current, and this quality is generally increased by affixing to the index needle a small copper plate which is made to move in a strong magnetic field (see fig. 2). Hot-wire instruments working on the sag principle can be used in any position if properly constructed, and are very portable. In the construction of such an instrument it is essential that the wire should be subjected to a process of preparation or “ageing,” which consists in passing through it a fairly strong current, at least the maximum that it will ever have to carry, and starting and stopping this current frequently. The wire ought to be so treated for many hours before it is placed in the instrument. It is also necessary to notice that shunt instruments cannot be used for high frequencies, as then the relative inductance of the shunt and wire becomes important and affects the ratio in which the current is divided, whereas for low frequency currents the inductance is unimportant. In constructing a hot-wire instrument for the measurement of high frequency currents it is necessary to make the working wire of a number of fine wires placed in parallel and slightly separated from one another, and to pass the whole of the current to be measured through this strand.
In certain forms, hot-wire instruments are well adapted for the measurement of very small alternating currents. One useful form has been made as follows:—Two fine wires of diameter not greater than ·001 in. are stretched parallel to one another and 2 or 3 mm. apart. At the middle of these parallel wires, which are preferably about 1 m. in length, rests a very light metallic bridge to which a mirror is attached, the mirror reflecting a ray of light from a lamp upon a screen. If a small alternating current is passed through one wire, it sags down, the mirror is tilted, and the spot of light on the screen is displaced. Changes of atmospheric temperature affect both wires equally and do not tilt the mirror. The instrument can be calibrated by a continuous current. Another form of hot-wire ammeter is a modification of the electric thermometer originally invented by Sir W. Snow Harris. It consists of a glass bulb, in which there is a loop of fine wire, and to the bulb is attached a U-tube in which there is some liquid. When a current is passed through the wire, continuous or alternating, it creates heat, which expands the air in the bulb and forces the liquid up one side of the U-tube to a certain position in which the rate of loss of heat by the air is equal to the rate at which it is gaining heat. The instrument can be calibrated by continuous currents and may then be used for high frequency alternating currents.

Fig. 3.—Shunted Movable Coil Ammeter, Isenthal & Co.
2. Electromagnetic Ammeters.—Another large class of ammeters depend for their action upon the fact that an electric current creates an electric field round its conductor, which varies in strength from point to point, but is otherwise proportional to the current. A small piece of iron placed in this field tends to move from weak to strong places in the field with a force depending on the strength of the field and the rate at which the field varies. In its simplest form an electromagnetic ammeter consists of a circular coil of wire in which is pivoted eccentrically an index needle carrying at its lower end a small mass of iron. The needle is balanced so that gravity compels it to take a certain position in which the fragment of iron occupies a position in the centre of the field of the coil where it is weakest. When a current is passed through the coil the iron tends to move nearer to the coil of the wire where the field is stronger and so displaces the index needle over the scale. Such an instrument is called a soft-iron gravity ammeter. Another type of similar instrument consists of a coil of wire having a fragment of iron wire suspended from one arm of an index needle near the mouth of a coil. When a current is passed through the wire forming the coil, the fragment of iron is drawn more into the aperture of the coil where the field is stronger and so displaces an index needle over a scale. In the construction of this soft-iron instrument it is essential that the fragment of iron should be as small and as well annealed as possible and not touched with tools after annealing; also it should be preferably not too elongated in shape so that it may not acquire permanent magnetization but that its magnetic condition may follow the changes of the current in the coil. If these conditions are not fulfilled sufficiently, the ammeter will not give the same indications for the same current if that current has been reached (a) by increasing from a smaller current, or (b) by decreasing from a larger current. In this case there is said to be hysteresis in the readings. Although therefore most simple and cheap to construct, such soft-iron instruments are not well adapted for accurate work. A much better form of electromagnetic ammeter can be constructed on a principle now extensively employed, which consists in pivoting in the strong field of a permanent magnet a small coil through which a part of the current to be measured is sent. Such an instrument is called a shunted movable coil ammeter, and is represented by a type of instrument shown in fig. 3. The construction of this instrument is as follows:—Within the instrument is a horseshoe magnet having soft-iron pole pieces so arranged as to produce a uniform magnetic field. In this magnetic field is pivoted a small circular or rectangular coil carried in jewelled bearings, the current being passed into and out of the movable coil by fine flexible conductors. The coil carries an index needle moving over a scale, and there is generally an iron core in the interior of the coil but fixed and independent of it. The coil is so situated that, in its zero position when no current is passing through it, the plane of the coil is parallel to the direction of the lines of force of the field. When a current is passed through the coil it rotates in the field and displaces the index over the scale against the control of a spiral spring like the hairspring of a watch. Such instruments can be made to have equidivisional scales and to read from zero upwards. It is essential that the permanent magnet should be subjected to a process of ageing so that its field may not be liable to change subsequently with time.
In the case of ammeters intended for very small currents, the whole current can be sent through the coil, but for larger currents it is necessary to provide in the instrument a shunt which carries the main current, the movable coil being connected to the ends of this shunt so that it takes a definite small fraction of the current passed through the instrument. Instruments of this type with a permanent magnetic field are only available for the measurement of continuous currents, but soft-iron instruments of the above-described gravity type can be employed with certain restrictions for the measurement of alternating currents. Direct reading equidivisional movable coil ammeters can be made in various portable forms, and are very much employed as laboratory instruments and also as ammeters for the measurement of large electric currents in electric generating stations. In this last case the shunt need not be contained in the instrument itself but may be at a considerable distance, wires being brought from the shunt which carries the main current to the movable coil ammeter itself, which performs the function simply of an indicator.
|
Fig. 4.—Siemens Electrodynamometer. |
3. Electrodynamic Ammeters.-—Instruments of the third class depend for their action on the fact discovered by Ampère, that mechanical forces exist between conductors carrying electric currents when those conductors occupy certain relative positions. If there be two parallel wires through which currents are passing, then these wires are drawn together if the currents are in the same direction and pressed apart if they are in opposite directions. (See Electrokinetics.) Instruments of this type are called Electrodynamometers, and have been employed both as laboratory research instruments and for technical purposes. In one well-known form, called a Siemens Electrodynamometer, there is a fixed coil (fig. 4), which is surrounded by another coil having its axis at right angles to that of the fixed coil. This second coil is suspended by a number of silk fibres, and to the coil is also attached a spiral spring the other end of which is fastened to a torsion head. If then the torsion head is twisted, the suspended coil experiences a torque and is displaced through an angle equal to that of the torsion head. The current can be passed into and out of the movable coil by permitting the ends of the coil to dip into two mercury cups. If a current is passed through the fixed coil and movable coil in series with one another, the movable coil tends to displace itself so as to bring the axes of the coils, which are normally at right angles, more into the same direction. This tendency can be resisted by giving a twist to the torsion head and so applying to the movable coil through the spring a restoring torque, which opposes the torque due to the dynamic action of the currents. If then the torsion head is provided with an index needle, and also if the movable coil is provided with an indicating point, it is possible to measure the torsional angle through which the head must be twisted to bring the movable coil back to its zero position. In these circumstances the torsional angle becomes a measure of the torque and therefore of the product of the strengths of the currents in the two coils, that is to say, of the square of the strength of the current passing through the two coils if they are joined up in series. The instrument can therefore be graduated by passing through it known and measured continuous currents, and it then becomes available for use with either continuous or alternating currents. The instrument can be provided with a curve or table showing the current corresponding to each angular displacement of the torsion head. It has the disadvantage of not being direct reading when made in the usual form, but can easily be converted into a direct reading instrument by appropriately dividing the scale over which the index of the torsion head moves.
|
Fig. 5.—Kelvin Flexible Metallic Ligament. |
Ampere Balance.—Very convenient and accurate instruments based on the above principles have been devised by Lord Kelvin, and a large variety of these ampere balances, as they are called, suitable for measuring currents from a fraction of an ampere up to many thousands of amperes, have been constructed by that illustrious inventor. The difficulty which has generally presented itself to those who have tried to design instruments on the electrodynamometer principle for use with large currents has been that of getting the current into and out of the movable conductor, and yet permitting that conductor to remain free to move under very small force. The use of mercury cups is open to many objections on account of the fact that the mercury becomes oxidized, and such instruments are not very convenient for transportation. The great novelty in the ampere balances of Lord Kelvin was a joint or electric coupling, which is at once exceedingly flexible and yet capable of being constructed to carry with safety any desired current. This he achieved by the introduction of a device which is called a metallic ligament. The general principle of its construction is as follows:—Let + A, − A (fig. 5), be a pair of semi-cylindrical fixed trunnions which are carried on a supporting frame and held with flat sides downwards. Let + B, − B, be two smaller trunnions which project out from the sides of the two strips connecting together a pair of rings CC. The rings and the connecting strips constitute the circuit which is to be rendered movable. A current entering by the trunnion + B flows round the two halves of the circuit, as shown by the arrows, and comes out at the trunnion − B. In fig. 5 the current is shown dividing round the two rings; but in all the balances, except those intended for the largest currents, the current really circulates first round one ring and then round the other. To make the ligament, a very large number of exceedingly fine copper wires laid close together are soldered to the upper surface of the upper trunnion. The movable circuit CC thus hangs by two ligaments which are formed of very fine copper wires. This mode of suspension enables the conductor CC to vibrate freely like a balance, but at the same time very large currents can easily be passed through this perfectly flexible joint.

Fig. 6.—Connexions of Kelvin
Ampere Balance.
Above and below these movable coils, which form as it were the two scale-pans of a balance, are fixed other stationary coils, and the connexions of all these six coils (shown in fig. 6) are such that when a current is passed through the whole of the coils in series, forces of attraction and repulsion are brought into existence which tend to force one movable coil upwards and the other movable coil downwards. This tendency is resisted by the weight of a mass of metal, which can be caused to slide along a tray attached to the movable coils. The appearance of the complete instrument is shown by fig. 7. When a current is passed through the instrument it causes one end of the movable system to tilt downwards, and the other end upwards; the sliding weight is then moved along the tray by means of a silk cord until equilibrium is again established. The value of the current in amperes is then obtained approximately by observing the position of the weight on the scale, or it may be obtained more accurately in the following manner:—The upper edge of the shelf on which the weights slide (see fig. 8) is graduated into equal divisions, and the weight is provided with a sharp tongue of metal in order that its position on the shelf may be accurately determined.
|
| Fig. 7.—Lord Kelvin’s Ampere Balance. |
![]() |
Fig. 8.—Slider of Kelvin Ampere Balance. |
Since the current passing through the balance when equilibrium is obtained with a given weight is proportional to the square root of the couple due to this weight, it follows that the current strength when equilibrium is obtained is proportional to the product of the square root of the weight used and the square root of the displacement distance of this weight from its zero position. Each instrument is accompanied by a pair of weights and by a square root table, so that the product of the square root of the number corresponding to the position of the sliding weight and the ascertained constant for each weight, gives at once the value of the current in amperes. Each of these balances is made to cover a certain range of reading. Thus the centi-ampere balance ranges from 1 to 100 centi-amperes, the deci-ampere balance from 1 to 100 deci-amperes, the ampere balance from 1 to 100 amperes, the deka-ampere balance from 1 to 100 amperes, the hecto-ampere balance from 6 to 600 amperes, and the kilo-ampere balance from 100 to 2500 amperes. They are constructed for the measurement not only of continuous or unvarying but also of alternating currents. In those intended for alternating currents, the main current through the movable coil, whether consisting of one turn or more than one turn, is carried by a wire rope, of which each component strand is insulated by silk covering, to prevent the inductive action from altering the distribution of the current across the transverse section of the conductor. To avoid the creation of induced currents, the coil frames and the base boards are constructed of slate. Kelvin ampere balances are made in two types—(1) a variable weight type suitable for obtaining the ampere value of any current within their range; and (2) a fixed weight type intended to indicate when a current which can be varied at pleasure has a certain fixed value. An instrument of the latter type of considerable accuracy was designed by Lord Kelvin for the British Board of Trade Electrical Laboratory, and it is there used as the principal standard ampere balance. A fixed weight is placed on one coil and the current is varied gradually until the balance is just in equilibrium. In these circumstances the current is known to have a fixed value in amperes determined by the weight attached to the instrument.
Calibration.—The calibration of ammeters is best conducted by means of a series of standard low resistances and of a potentiometer (q.v.). The ammeter to be calibrated is placed in series with a suitable low resistance which may be ·1 ohm, ·01 ohm, ·001 ohm or more as the case may be. A steady continuous current is then passed through the ammeter and low resistance, placed in series with one another and adjusted so as to give any required scale reading on the ammeter. The potential difference of the ends of the low resistance is at the same time measured on the potentiometer, and the quotient of this potential difference by the known value of the low resistance gives the true value of the current passing through the ammeter. This can be then compared with the observed scale reading and the error of the ammeter noted.[2]
A good ammeter should comply with the 
Fig. 9.—Edgewise Switchboard Ammeters, Kelvin & James White Ltd.following qualifications:—(1) its readings should be the same for the same current whether reached by increasing from a lower current or decreasing from a higher current; (2) if used for alternating currents its indications should not vary with the frequency within the range of frequency for which it is likely to be used; (3) it should not be disturbed by external magnetic fields; (4) the scale divisions should, if possible, be equal in length and there should be no dead part in the scale. In the use of ammeters in which the control is the gravity of a weight, such as the Kelvin ampere balances and other instruments, it should be noted that the scale reading or indication of the instrument will vary with the latitude and with the height of the instrument above the mean sea-level. Since the difference between the acceleration of gravity at the pole and at the equator is about 12 %, the correction for latitude will be quite sensible in an instrument which might be used at various times in high and low latitudes. If G is the acceleration of gravity at the equator and g that at any latitude λ, then g = G(1 + 0·00513 sin2λ). In the case of an instrument with gravity control, the latitude at which it is calibrated should therefore be stated.
Switchboard Ammeters.—For switchboard use in electric supply stations where space is valuable, instruments of the type called edgewise ammeters are much employed. In these the indicating needle moves over a graduated cylindrically shaped scale, and they are for the most part electromagnetic instruments (see fig. 9).
Bibliography.—Lord Kelvin (Sir W. Thomson), “New Standard and Inspectional Electrical Measuring Instruments,” Proc. Soc. Telegraph Engineers, 1888, 17, p. 540; J. A. Fleming, A Handbook for the Electrical Laboratory and Testing Room (2 vols., London, 1901, 1903); G. D. Aspinall Parr, Electrical Measuring Instruments (Glasgow, 1903); J. Swinburne, “Electric Light Measuring Instruments,” Proc. Inst. Civ. Eng., 1891-1892, 110, pt. 4; K. Edgcumbe and F. Punga, “Direct Reading Measuring Instruments for Switchboard Use,” Jour. Inst. Elec. Eng., 1904, 33, p. 620. (J. A. F.)
- ↑ See J. A. Fleming, A Handbook for the Electrical Laboratory and Testing Room, vol. i. p.,341 (1901), also A. Gray, Absolute Measurements in Electricity and Magnetism, vol. ii. pt. ii. p. 412 (1893).
- ↑ See “The Electrolysis of Copper Sulphate in Standardizing Electrical Instruments,” by A. W. Meikle, read before the Physical Society of Glasgow University on the 27th of January 1888, or J. A. Fleming, A Handbook for the Electrical Laboratory and Testing Room, vol. i. p. 343.
